1
/
의
3
ロームヘルド・ハルダー(株)
HALDER 원뿔 시트 담금질 강 적합 볼트 M24 23050.0224 1 개
HALDER 원뿔 시트 담금질 강 적합 볼트 M24 23050.0224 1 개
정가
¥1,662
정가
할인가
¥1,662
단가
/
단위
배송료는 결제 시 계산됩니다.
픽업 사용 가능 여부를 로드할 수 없습니다.
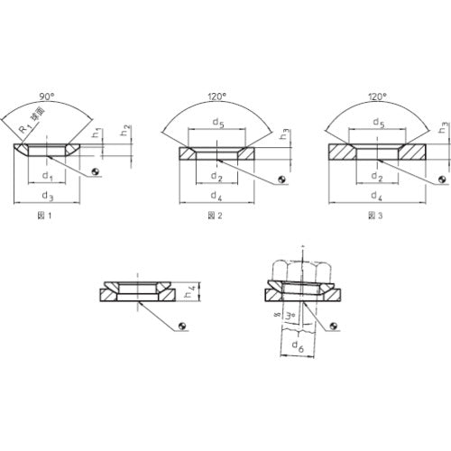
카탈로그 품번:23050.0224 특징: ●구면 와셔트와의 조합으로, 볼트와 좌면이 수직이 아닌 경우 등에 사용합니다. ●좌면의 각도를 약 3도까지 보정합니다. 용도 : ● 주물, 스트랩 등 경사면의 볼트 고정에. 사양:●적합 볼트:M24●외경(mm):60●내경(mm):28●높이(mm):10●내하중(정하중)(max. kN):168 ●나사의 체결 토크(max. Nm):698 ●형상G
전체 세부 정보 보기
