1
/
の
2
(株)水本機械製作所
水本 ステンレス シンブル 使用ロープ径16mm A-1049 1 個
水本 ステンレス シンブル 使用ロープ径16mm A-1049 1 個
通常価格
¥4,008
通常価格
セール価格
¥4,008
単価
/
あたり
(税込み)
受取状況を読み込めませんでした
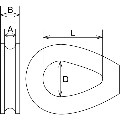
カタログ品番:A-1049 特長:●ステンレス製で錆びにくく、耐久性に優れます。●ワイヤーロープの先端をアイ加工して使用する場合、ワイヤーの摩耗を防ぎます。 用途:●端末加工するワイヤーコースとして。 仕様:●適合ロープ径(mm):16●A(mm):16●B(mm):20●D(mm):44●L(mm):81 材質/仕上:●ステンレス(SUS304)●仕上げ:バレル研磨仕上げ
詳細を表示する
