1
/
の
2
トラスコ中山(株)
TRUSCO 温度センサー Pt100Ω測温抵抗体 1.6mmX100mm OSPT-161100Y 1本
TRUSCO 温度センサー Pt100Ω測温抵抗体 1.6mmX100mm OSPT-161100Y 1本
通常価格
¥8,474
通常価格
セール価格
¥8,474
単価
/
あたり
(税込み)
受取状況を読み込めませんでした
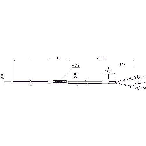
カタログ品番:OSPT-161100Y 特長:●200℃までの温度測定に精度の高い温度センサーです。●抵抗から温度を測定するため、補償導線等の特殊導線は不要です。●3導線式で抵抗素子の一端に2本、他端に1本の導線を接続しており、導線抵抗の影響を少なくできます。 仕様:●シース径(mm):1.6●シース長さ(mm):100●スリーブ径(mm):8●常用限度(℃):300●リード線長さ(mm):2000●ステンレス製シースパイプ●ビニル製リード線●スリーブ耐熱温度:80℃●リード線耐熱温度:60℃●許容差:クラスB 材質/仕上:●リード線:VCTF●スリーブ:SUS304●保護管型測温抵抗体:ステンレス(SUS316)
詳細を表示する
